H κατάθεση από την πλευρά της Mazda μια σειράς πατεντών που σχετίζονται με ένα ένα νέο περιστροφικό κινητήρα ή αλλιώς Wankel φούντωσαν πάλι τις φήμες για ένα νέο σπορ μοντέλο που θα αποτελέσει το διάδοχο τόσο της τελευταίας γενιάς του RX-7 όσο και του πιο παλιού RX-8.
Η ιαπωνική εταιρεία δεν έχει κρύψει ποτέ την πρόθεσή της να συμπεριλάβει και πάλι στη γκάμα της ένα περιστροφικό σύνολο, αλλά όπως κατά καιρούς έχουν αναφέρει στελέχη της δεν θα προχωρήσει σε μια τέτοια κίνηση να δεν πληρούνται και με το παραπάνω οι προδιαγραφές εκπομπής ρύπων.

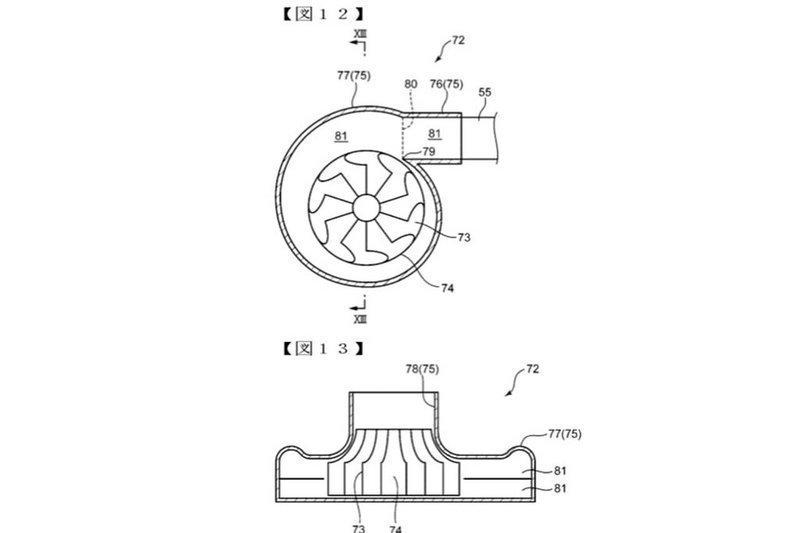
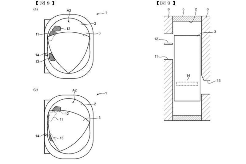
Τα σκίτσα πάντως των πατεντών δείχνουν μια νέα σχεδίαση της πλευρικής θύρας εξαγωγής των καυσαερίων, που ενδεχόμενα θα μπορεί να βελτιώνει την οικονομία. Ταυτόχρονα υπάρχει και μια νέα σχεδίαση του υπερσυμπιεστή, ειδικά για αυτόν τον κινητήρα.

Αυτό που δεν δείχνουν είναι μια αποκλειστική χρήση του ως range extender υβριδικών και ηλεκτρικών μοντέλων. Για το σκοπό αυτό πάντως ο Wankel, με το μικρό του μέγεθος, τα λίγα cc και τη υψηλή του απόδοση δείχνει ιδανικός.
Εμείς πάντως απλά σημειώνουμε πως το 2020 η Mazda θα συμπληρώσει έναν αιώνα ζωής και αυτό ίσως είναι μια καλή ευκαιρία για να παρουσιάσει ένα νέο σπορ μοντέλο. Ίσως την έκδοσή παραγωγής του εντυπωσιακού RX-Vision Concept του 2015, με ή χωρίς νέο περιστροφικό κινητήρα.
Πηγή: caranddriver.gr

Στην τελική ευθεία τα Jaguar Art Awards σε συνεργασία με το Royal College of Art
Η Jaguar ανακοίνωσε τη λίστα των υποψηφίων για τα Jaguar Art Awards, που ιδρύθηκαν σε συνεργασία με το Royal College of Art (RCA), με στόχο να τιμήσουν ανερχόμενους καλλιτέχνες και μεταπτυχιακούς φοιτητές των διακεκριμένων προγραμμάτων του κολεγίου. Μια κριτική επιτροπή ειδικών από πολλούς τομείς επέλεξε 20 έργα τέχνης, σε απάντηση σε ένα σύντομο κείμενο που ζητούσε από τους καλλιτέχνες να «Μην Αντιγράψουν Τίποτα» (“Copy Nothing”) — ένα δόγμα που καθιέρωσε ο ιδρυτής της Jaguar, Sir William Lyons.
Τον Σεπτέμβριο, σε μια τελετή όπου θα παραστούν εξέχουσες προσωπικότητες από τον χώρο των τεχνών, θα ανακοινωθούν οι πέντε τελικοί νικητές. Καθένας από αυτούς θα λάβει επιχορήγηση για την υποστήριξη της επόμενης δημιουργικής του προσπάθειας, ενώ ένας θα τιμηθεί με το βραβείο Gerry McGovern, τη σημαντικότερη διάκριση του προγράμματος.
Τα βραβεία έχουν ως στόχο να αναδείξουν καλλιτέχνες που εκφράζουν, μέσα από τη δουλειά τους, το όραμα της Jaguar για την προώθηση της πρωτοτυπίας, μέσα από τολμηρές και αυθεντικές δημιουργίες.

Ο διαγωνισμός ήταν ανοιχτός σε όλους τους φοιτητές μεταπτυχιακών σπουδών Καλών και Εφαρμοσμένων Τεχνών, με τη λίστα των τελικών υποψηφίων να περιλαμβάνει φοιτητές από διάφορους κλάδους, όπως γλυπτική, ζωγραφική, φωτογραφία, και κεραμική.
Πολλά από τα έργα που ξεχώρισαν ως φιναλίστ στα Jaguar Art Awards παρουσιάστηκαν στην εκδήλωση RCA2025: School of Arts & Humanities Show — μια σειρά εκθέσεων, εκδηλώσεων και δραστηριοτήτων που γιόρτασαν το έργο των φοιτητών που αποφοίτησαν από το RCA μεταξύ 19 και 22 Ιουνίου.
Η λεπτομερής αξιολόγηση των υποβληθέντων έργων έγινε από μια ετερογενή κριτική επιτροπή με σημαντική εμπειρία σε πολλούς καλλιτεχνικούς τομείς. Στην επιτροπή συμμετείχαν ο Gerry McGovern, Διευθυντής Δημιουργικού Σχεδιασμού της Jaguar Land Rover, πρώην φοιτητής και νυν επισκέπτης καθηγητής του RCA, μαζί με αποφοίτους του κολεγίου από την ομάδα Jaguar Creative και καλλιτέχνες από άλλους δημιουργικούς κλάδους, όπως ο σχεδιασμός επίπλων και οι εικαστικές τέχνες.
Αντανακλώντας το πνεύμα των βραβείων, πέρυσι η Jaguar, στο πλαίσιο της εκδήλωσης Miami Art Week, αποκάλυψε το Type 00, ένα πρωτότυπο μοντέλο που αποτυπώνει το σχεδιαστικό της όραμα για το μέλλον. Το Type 00 επαναπροσδιορίζει το αυθεντικό δόγμα της μάρκας “Copy Nothing”, όπως το οραματίστηκε ο ιδρυτής της Sir William Lyons, ο οποίος απέρριπτε οποιαδήποτε αντιγραφή.
