Τη δυνατότητα να εργάζονται με ακόμα μεγαλύτερη ευκολία και αποτελεσματικότητα εν κινήσει προσφέρει η Mercedes στους πελάτες της, με την ενσωμάτωση των πλέον προηγμένων ψηφιακών εργαλείων της Microsoft. Η σουίτα σύγχρονων εργαλείων περιλαμβάνει και την τελευταία έκδοση της λειτουργίας “Meeting” στην εφαρμογή “Teams”, αρχής γενομένης από την ολοκαίνουργια CLA. Με αυτό τον τρόπο ο οδηγός μπορεί να συμμετέχει σε κλήσεις εν κινήσει, μέσω της χρήσης της ενσωματωμένης κάμερας. Με δεδομένη, βέβαια, την έμφαση της Mercedes στην ασφάλεια, η χρήση της κάμερας συμμορφώνεται με τη νομοθεσία κάθε χώρας και έχει εγκριθεί για χρήση εν κινήσει. Επιπροσθέτως, για την ελαχιστοποίηση της απόσπασης της προσοχής και την αποτροπή τέλεσης τροχαίου ατυχήματος, ο οδηγός δεν θα έχει τη δυνατότητα να βλέπει κοινόχρηστες οθόνες ή παρουσιάσεις όταν το όχημα βρίσκεται σε κίνηση.
Επιπλέον, η ανανεωμένη λειτουργία Meetings στο Teams προσφέρει στους χρήστες έναν ακόμη πιο αποδοτικό τρόπο εργασίας μέσα στο όχημα, διαθέτοντας έναν νέο πίνακα ελέγχου με λειτουργία «Επόμενες Συναντήσεις» για τα επερχόμενα ραντεβού.

Περιλαμβάνει επίσης αναβαθμισμένη λειτουργία συνομιλίας που διευκολύνει την ανάγνωση και σύνταξη μηνυμάτων. Η ενσωμάτωση φωνητικού ελέγχου για την εισαγωγή κειμένου και η δυνατότητα μετάβασης απευθείας από το ημερολόγιο σε μία συνάντηση στο Teams προσφέρουν μια απρόσκοπτη εμπειρία χρήστη.
Παράλληλα, η γερμανική εταιρεία έχει πλέον ενσωματώσει το Microsoft Intune στο λειτουργικό σύστημα MB.OS, δημιουργώντας με αυτό τον τρόπο ένα ασφαλές, συμβατό με τις επιχειρησιακές απαιτήσεις οικοσύστημα για το μέλλον της εργασίας εν κινήσει.
Οι πελάτες μπορούν να συνδέονται με τους επαγγελματικούς τους λογαριασμούς και να μεταβαίνουν από τη μία εφαρμογή (app) στην άλλη, εύκολα και απρόσκοπτα, με αποτέλεσμα να είναι πιο παραγωγικοί κατά την παραμονή τους στο αυτοκίνητο.

Με αυτόν τον τρόπο, η Mercedes διασφαλίζει ότι το όχημα πληροί τα ίδια πρότυπα εταιρικής ασφάλειας με κινητές συσκευές όπως τα επαγγελματικά smartphones. Η γερμανική εταιρεία αναφέρει ότι η ενσωμάτωση του Microsoft Intune στο λειτουργικό σύστημα MB.OS υποστηρίζει τη χρήση εφαρμογών παραγωγικότητας όπως είναι τα MBUX Notes και Calendar.
Η Mercedes και η Microsoft συνεργάζονται, επίσης, για την ενσωμάτωση στα πιο πρόσφατα μοντέλα της μάρκας και του Microsoft 365 Copilot. Αυτή θα είναι από τις πρώτες εφαρμογές του είδους της που ενσωματώνονται σε αυτοκίνητο και θα βοηθάει τους χρήστες να προετοιμάζονται για προγραμματισμένες συναντήσεις, με τη βοήθεια προηγμένης Τεχνητής Νοημοσύνης (AI). Μέσω φωνητικών εντολών, οι οδηγοί θα μπορούν να συνοψίζουν email, να αντλούν πληροφορίες για πελάτες και να διαχειρίζονται καθημερινές εργασίες χωρίς να αποσπάται η προσοχή τους.
Σύμφωνα με τη Mercedes, το Microsoft 365 Copilot έχει τη δυνατότητα να μετατρέψει το όχημα σε έναν τρίτο χώρο εργασίας, συμπληρώνοντας τον επαγγελματικό χώρο και το οικιακό γραφείο.

Η KTM εργάζεται πάνω σε ένα ημιαυτόματο κιβώτιο ταχυτήτων
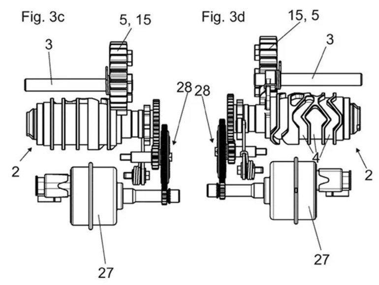
Το ημιαυτόματο κιβώτιο ταχυτήτων της KTM χρησιμοποιεί φυγοκεντρικό συμπλέκτη και περιλαμβάνει σύστημα κλειδώματος για να αποτρέπει την κύλιση της μοτοσυκλέτας.
Καθώς αυτό το δίπλωμα ευρεσιτεχνίας σχετίζεται με τον κινητήρα της KTM LC8 V-twin, θα μπορούσε να φτάσει και στα μοντέλα 1290 Super Adventure S, Super Adventure R, 1290 Super Duke R και 1290 Super Duke GT. Η άποψη της KTM για το πώς θα πρέπει να λειτουργεί ένα ημιαυτόματο κιβώτιο είναι αυτό να χρησιμοποιεί βραχίονες, φυγοκεντρικό συμπλέκτη και ξεχωριστή μονάδα ελέγχου ταχυτήτων για να αλλάζει τις ταχύτητες. Είναι ενδιαφέρον ότι το σύστημα περιλαμβάνει επίσης μια μορφή χειρόφρενου, που εμποδίζει την μοτοσυκλέτα να κυλήσει σε κατηφόρα αλλά και να έχει κάποια προστασία από κλοπή.



Ημιαυτόματο κιβώτιο ταχυτήτων KTM με θέση στάθμευσης.
Το «φρένο στάθμευσης», το οποίο φαίνεται σαν μια απλή ιδέα θα μπορούσε πραγματικά να είναι πολύ χρήσιμο. Το σύστημα της KTM ωστόσο χρησιμοποιεί έναν μοχλό σχήματος L που ασφαλίζει φυσικά τα κινούμενα γρανάζια στη θέση τους. Αυτό το σύστημα δεν μπορεί να απενεργοποιηθεί εάν είναι ενεργοποιημένο με κάποιον εξωτερικό μηχανικό τρόπο, με αποτέλεσμα να αποτελεί μία καλή άμυνα κατά της κλοπής της μοτοσικλέτας.
Για αυτόματη αλλαγή ταχυτήτων, το σύστημα χρησιμοποιεί έναν ηλεκτροκινητήρα αλλαγής ταχυτήτων για να περιστρέψει τον κύλινδρο αλλαγής ταχυτήτων. Αυτός μετακινεί τις φουρκέτες επιλογής ταχύτητας στην επιθυμητή θέση για να εμπλακεί το κατάλληλο γρανάζι. Το σύστημα περιλαμβάνει επίσης έναν φυγοκεντρικό συμπλέκτη, που επιτρέπει στη μοτοσυκλέτα να ξεκινήσει και να σταματήσει χωρίς να χρειάζεται χειροκίνητο συμπλέκτη.
Ενώ τα διπλώματα ευρεσιτεχνίας αναφέρονται σε αρκετές λεπτομέρειες σχετικά με τη λειτουργία του συστήματος, αυτό που δεν μας λένε είναι πώς ο αναβάτης θα μπορεί να αλλάζει χειροκίνητα τις ταχύτητες. Στο σύστημα της Honda DCT, αυτό γίνεται μέσω κουμπιών στο τιμόνι, αλλά θα ήταν ωραίο να λειτουργούν και από έναν συμβατικό μοχλό ταχυτήτων. Τα κουμπιά στο τιμόνι είναι διασκεδαστικά αλλά αν υπάρχει και η επιλογή να ανεβοκατεβαίνουν από έναν λεβιέ ταχυτήτων στο αριστερό πόδι θα είναι ακόμη καλύτερη η οδήγηση της μοτοσυκλέτας.

Βέβαια το ότι και η ΚΤΜ επιλέγει να πάει προς αυτήν την κατεύθυνση στο κιβώτιο ταχυτήτων είναι αποτέλεσμα της τεράστιας επιτυχίας του DCT της Honda, το οποίο προτιμούν έναντι του συμβατικού το 80% των πελατών της Ιαπωνικής εταιρίας και το οποίο – όπως έχουμε δει και από τις δικές μας δοκιμές – είναι ένα εξαιρετικό σύστημα, που πάντα είχαμε την απορία γιατί δεν το χρησιμοποιούν και οι υπόλοιποι κατασκευαστές. Προφανώς οι πατέντες που προστατεύουν το DCT επιβάλουν να εξελίξεις μια δική σου διαφορετική εκδοχή και αυτό κάνει τώρα η ΚΤΜ
